标准照明体色温是颜色科学和照明工程的基准参照系统,为颜色测量、视觉评价和照明设计提供统一的标准框架。掌握标准照明体色温的准确数值和技术特性,是确保颜色一致性和视觉质量的基础。

一、标准照明体色温的定义与理论基础
1.1 色温与相关色温概念
色温(Color Temperature)起源于黑体辐射理论,当黑体加热到一定温度时发出的光色特性,单位是开尔文(K)。相关色温(Correlated Color Temperature)则是描述非黑体辐射光源色品与黑体辐射最接近时的温度值。标准照明体的色温值都是相关色温,通过色品坐标与黑体轨迹的距离计算得出。
1.2 CIE标准照明体体系
CIE建立的标准照明体体系包括:
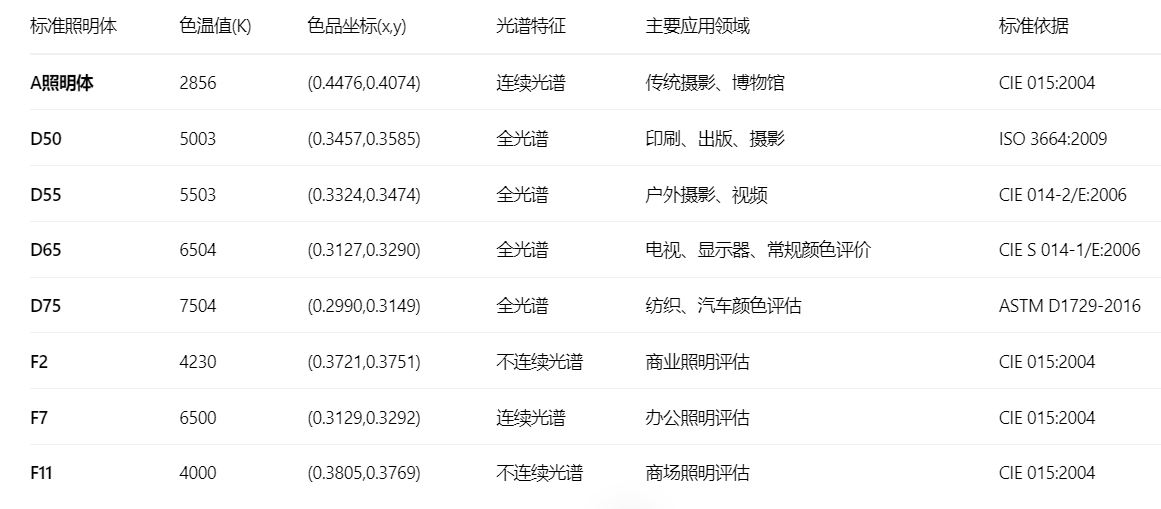
A照明体:代表绝对温度2856K的黑体辐射,对应白炽灯光
B照明体:已淘汰,原代表4874K的直射阳光
C照明体:已淘汰,原代表6774K的平均日光
D照明体:代表各种时相的自然日光
F照明体:代表各类荧光灯
二、主要标准照明体色温值与特性

三、各行业标准照明体应用规范
3.1 印刷与出版行业
印刷行业严格执行ISO 3664:2009标准,要求使用D50标准照明体进行颜色评估。D50的5003K色温提供中性的白光环境,能准确评估印刷品的颜色效果。观察条件要求照度2000±500 lux,均匀度≥0.8,环境为中性灰(Munsell N8/)。
3.2 摄影与影视行业
摄影行业根据ANSI PH2.30-1989标准,使用D55(户外)和D50(室内)标准照明体。影视行业遵循ITU-R BT.815标准,采用D65作为基准白点。这些标准确保不同设备、不同环境下的颜色一致性。
3.3 纺织与汽车行业
纺织行业按AATCC 173-2020标准,使用D65照明体进行颜色评估。汽车行业采用更严格的标准,要求使用D65和D75多个照明体进行同色异谱评估,确保颜色在不同光照条件下的一致性。
四、标准照明体的实现与技术要点
4.1 人工模拟光源技术要求
人工模拟标准照明体的光源需满足严格的技术要求:
色温容差:与标准值偏差不超过±200K
显色指数:Ra ≥ 95(对D系列)
光谱匹配度:与标准照明体光谱功率分布匹配度≥90%
稳定性:连续工作色温漂移≤100K/1000小时
4.2 标准光源箱配置
专业标准光源箱按ISO 3664:2009要求配置:
D50光源:用于印刷和出版颜色评估
D65光源:用于一般颜色评估
F系列光源:用于商业照明条件模拟
UV光源:用于荧光材料评估
A光源:用于同色异谱评估
五、标准照明体的选择原则
5.1 根据产品最终使用环境选择
选择标准照明体的首要原则是模拟产品最终使用环境。室内用品优先使用A或F系列照明体,户外用品使用D系列照明体。例如,室内家具使用F11照明体评估,户外广告使用D65照明体评估。
5.2 根据行业标准选择
各行业有特定的标准要求,必须严格遵守。印刷行业必须使用D50,影视行业必须使用D65,纺织行业推荐使用D65。这些规定基于大量实践经验和科学研究。
5.3 多照明体评估原则
重要产品需要进行多照明体评估,检测同色异谱现象。至少使用两种差异较大的照明体(如D65和A),确保颜色在不同光照条件下都能保持一致。
六、常见问题与解决方案
6.1 色温偏差问题
实际光源与标准照明体色温偏差是常见问题。解决方案包括:
定期校准光源,确保色温准确
使用光谱辐射计进行精确测量
建立维护计划,及时更换老化光源
6.2 同色异谱现象
同色异谱是颜色管理中的难点。解决方法:
使用多个标准照明体进行评估
优化配方,减少同色异谱指数
建立容差标准,控制可接受范围